博客首页
行业指南
中餐引导
奶茶指引
茶楼指引
棋牌指引
烧烤指引
烘焙指引
酒吧指引
功能模块
PC收银端
安卓收银端
手机收银
移动点菜宝
传统点菜宝
微信小程序
扫码点餐
厨显KDS
智能排队
云秘书&粉丝达人
常用功能
支付配置
相关硬件
下载中心
FAQ专区
更新日志
安卓端更新日志
PC端更新日志
打印问题
美食云点菜宝同时终端超过解决教程
753
人浏览 /
0
人评论
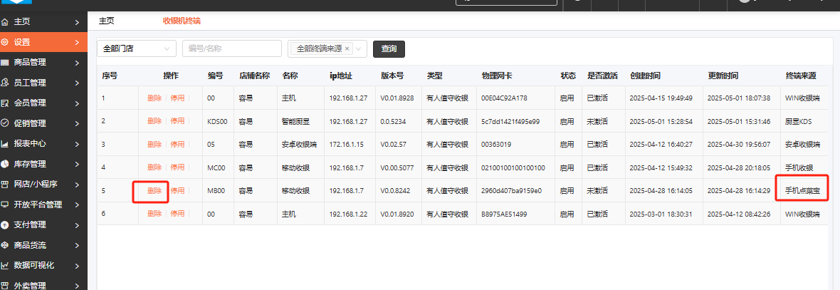
如果登录点菜宝提示这个
找到收银机终端
找到不需要的点菜宝终端,删除掉,不知道具体哪个的话,就把所有点菜宝终端删掉,重新登录一下就行了
提交
全部评论
搜索
搜索
爱宝公众号
更多帮助请扫码关注【爱宝商城汇】公众号
最新文章
美食云旗舰版安卓版海外发票设置教程
美食云微信订单异常处理方法
美食云充值不显示支付方式解决方法
美食云旗舰版pc版海外发票MYINVOIS设置教程
美食云启动弹cmd窗口解决教程
美食云传统点菜宝菜品多点超时解决教程
美食云安卓版团购验券无商品验券开关设置教程
美食云旗舰版团购券无商品映射验券设置教程
美食云点菜宝取单提示授权解决方法
美食云打印单据显示双语教程
热门标签
棋牌指引
安卓收银端
预约
灯控
ai
会员余额不足
聚贝
泗洪农商行
储值卡
好码齐
全部评论